|
YDF系列多翼式離心通風機是專為廚房抽油煙而設計的,它采用前彎多翼葉輪,單進風,具有噪聲低飛流量大、效率高、重量輕、體積小、抽排能力強、安裝方便等特點。
本產品也適用于建筑通風、廠房換氣等場合。
YDF風機分為A式傳動(電機與葉輪直接聯接),E式傳動(皮帶輪傳動),用戶根據實際情況選型。 |
|
| 型 號 |
流量 (m3/h) |
風壓 (Pa) |
轉速 (rpm) |
功率 (Kw) |
重量 (Kg) |
| YDF2A | 2650 | 310 | 1450 | 0.55 | 60 |
| YDF2.5A | 3070 | 320 | 1450 | 1.1 | 70 |
| YDF3A | 3670 | 435 | 1450 | 1.5 | 100 |
| YDF3.7A | 5110 | 450 | 1450 | 2.2 | 120 |
| YDF4A | 7650 | 850 | 1450 | 5.5 | 190 |
| YDF4.5A | 6800 | 500 | 960 | 3 | 200 |
| YDF4.7A | 9390 | 696 | 960 | 4 | 220 |
| YDF5A | 14160 | 880 | 960 | 5.5 | 235 |
| YDF5.5A | 17600 | 910 | 960 | 7.5 | 310 |
| YDF5.5E | 15280 | 750 | 800 | 5.5 | 290 |
| YDF6.3E | 19280 | 905 | 680 | 7.5 | 360 |
| YDF6.3E | 22650 | 908 | 800 | 11 | 390 |
| YDF7.1E | 28400 | 670 | 620 | 15 | 550 |
| YDF7.1E | 27600 | 905 | 730 | 22 | 580 |
|
|
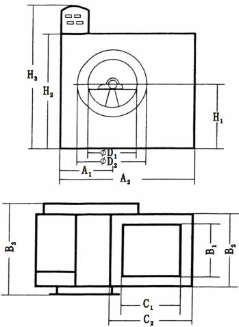
||||||||||||||||||||||||||||||||||||||||||||||||||||||||||||||||||||
| 型號 | 外 形 尺 寸(mm) | ||||||
| A | B | B1 | B2 | D1 | 寬 | H | |
| YDF2A | 440 | 490 | 120 | 180 | 200 | 340 | 320 |
| YDF2.5A | 500 | 500 | 156 | 215 | 250 | 420 | 330 |
| YDF3A | 520 | 600 | 186 | 265 | 300 | 500 | 390 |
| YDF3.7A | 610 | 700 | 220 | 295 | 370 | 600 | 400 |
| YDF4A | 650 | 800 | 240 | 346 | 400 | 680 | 500 |
| YDF4.5A | 750 | 900 | 270 | 370 | 450 | 770 | 540 |
| YDF4.7A | 820 | 930 | 282 | 390 | 470 | 780 | 560 |
| YDF5A | 840 | 970 | 300 | 400 | 500 | 860 | 580 |
| YDF5.5A | 880 | 1230 | 330 | 460 | 550 | 980 | 640 |